最佳体验请使用Chrome67及以上版本、火狐、Edge、Safari浏览器 ×

创建银行
创建开票

    华为公开半导体芯片专利:可提高三维存储器密度

    编者: ZYY@芯闻道 阅读973 来源: 闪德资讯 2023/10/31 11:07:07 文章 外链 公开

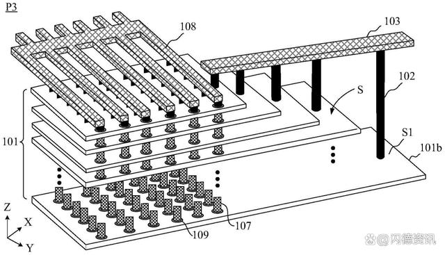
    据天眼查显示,华为技术有限公司近日新增多条专利信息,其中一条名称为「半导体结构及其制备方法、三维存储器、电子设备」,公开号为CN116940110A。

     

    image.png 

    专利摘要显示,本申请涉及半导体芯片技术领域,旨在如何提高三维存储器的存储密度。该半导体结构包括外围堆叠层、电容器、第一接触柱和第一信号线,外围堆叠层包括层叠设置的多个膜层对,膜层对包括第一介质层和栅极层,多个膜层对形成多个台阶。电容器包括第一电极和第二电极。第一接触柱位于第一目标台阶的上方,且一端与形成第一目标台阶的膜层对中的栅极层电连接,第一目标台阶为多个台阶中的一个台阶。第一信号线与第一接触柱的另一端电连接,第一信号线被配置为向栅极层传输第一电压信号,栅极层被配置为形成第一电极。上述半导体结构应用于三维存储器中,以实现数据的读取和写入操作。

    华为指出,随着存储单元的特征尺寸接近工艺下限,平面工艺和制造技术变得具有挑战性且成本高昂,这造成2D存储器的存储密度接近上限。为克服2D存储器带来的限制,业界已经研发了具有三维结构的存储器(3D存储器,也称作三维存储器),通过膜层的堆叠、微缩器件关键尺寸来提高存储密度。

    上述三维存储器还包括外围电路,该外围电路与存储单元设置于三维存储器的不同区域。外围电路中包括金属-氧化物-金属(Metal-Oxide-Metal,简称MOM)电容器,基于此,如何减小MOM电容器所占区域的面积,增加存储单元所占区域的面积,以提高三维存储器的存储密度,成为本领域亟待解决的问题。


    声明:本网站部分内容来源于网络,版权归原权利人所有,其观点不代表本网站立场;本网站视频或图片制作权归当前商户及其作者,涉及未经授权的制作均须标记“样稿”。如内容侵犯了您相关权利,请及时联系责任编辑(芯闻道)
    李明骏
    @芯之元 ,版权号:
    成员
    • 成交数 --
    • 成交额 --
    • 应答率
    聊天 收藏 点赞
    赏
    ¥0.00¥0.00¥0.00¥0.00¥0.00
     0  0
    
    
    分享

    微信扫一扫:分享

    微信里点“+”,扫一扫二维码

    便可将本文分享至朋友圈。

        0
      验证
      二维码支付